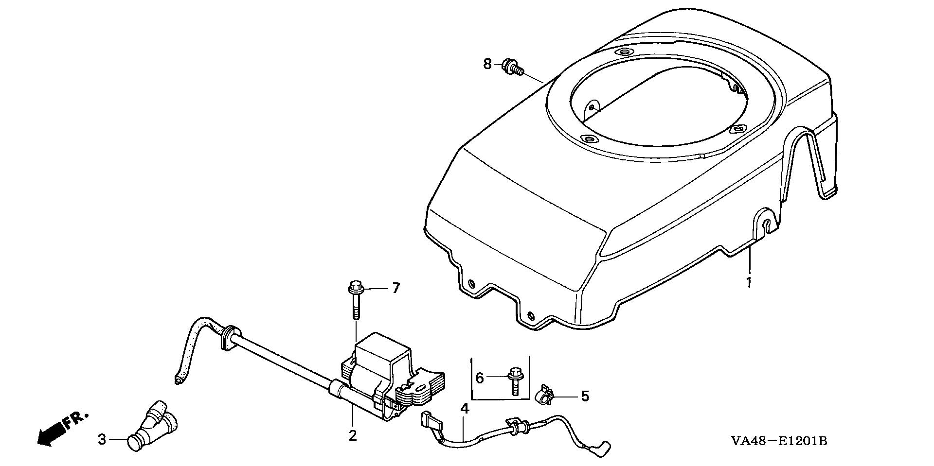
Lawn Mowers HRC HRC216 HRC216 HXA MZAN-6000001-6099999 FAN COVER (HRC216) - Kitz & Pfeil, Inc.

Ref No
Part Number
Description
Serial Range
Qty
Price

Ref No
1
Part Number
19610-ZE7-L00ZA
Description
COVER, FAN *R8* (BRIGHT RED)
Serial Range
1000001 - 9999999

Ref No
2
Part Number
30500-ZE7-063
Description
COIL ASSY., IGNITION
Serial Range
1000001 - 9999999
Qty
Price
$90.05

Ref No
3
Part Number
30700-ZE6-773
Description
TERMINAL ASSY., IGNITION
Serial Range
1000001 - 9999999
Qty
Price
$29.06

Ref No
4
Part Number
36101-ZE7-000
Description
WIRE, STOP SWITCH
Serial Range
1000001 - 1335375

Ref No
4
Part Number
36101-ZE7-010
Description
WIRE, STOP SWITCH (NOT AVAILABLE)
Serial Range
1335376 - 1352134

Ref No
4
Part Number
36101-ZE7-020
Description
WIRE, STOP SWITCH
Serial Range
1352135 - 9999999
Qty
Price
$17.89

Ref No
5
Part Number
36103-ZE1-000
Description
HOLDER, STOP SWITCH WIRE
Serial Range
1000001 - 1352134
Qty
Price
$2.64

Ref No
5
Part Number
46392-SC2-003
Description
CLAMP, BRAKE PIPE (GRAY)
Serial Range
1352135 - 9999999
Qty
Price
$5.43

Ref No
6
Part Number
90019-883-000
Description
BOLT, FLANGE (5X10) (CT200)
Serial Range
1000001 - 1352134
Qty
Price
$3.32

Ref No
7
Part Number
90121-952-000
Description
BOLT, FLANGE (6X25) (CT200)
Serial Range
1000001 - 9999999
Qty
Price
$3.01

Ref No
8
Part Number
95701-06010-00
Description
BOLT, FLANGE (6X10)
Serial Range
1000001 - 9999999
Qty
Price
$1.69