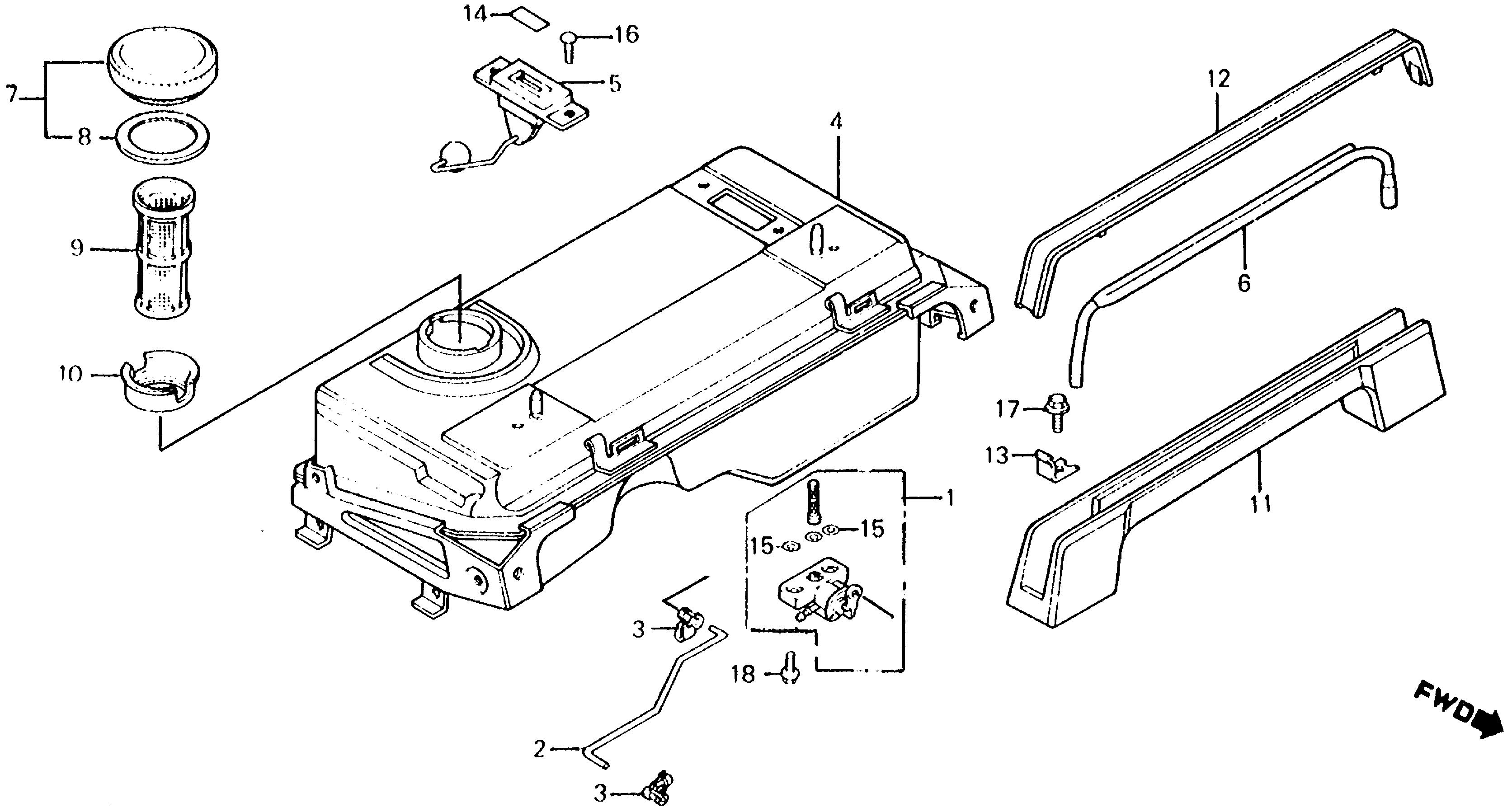
Generators EX EX800 EX800 A G100-1287874-9999999 FUEL TANK@FUEL VALVE - Kitz & Pfeil, Inc.

Ref No
Part Number
Description
Serial Range
Qty
Price

Ref No
1
Part Number
16950-ZA7-000
Description
PETCOCK ASSY.
Serial Range
1000001 - 9999999

Ref No
2
Part Number
16955-ZA7-000
Description
ROD, PETCOCK (NOT AVAILABLE)
Serial Range
1000001 - 9999999

Ref No
3
Part Number
16956-ZA7-000
Description
JOINT, ROD
Serial Range
1000001 - 9999999
Qty
Price
$6.58

Ref No
4
Part Number
17500-ZA7-000H
Description
TANK, FUEL *R8* (BRIGHT RED) (NOT AVAILABLE)
Serial Range
1000001 - 9999999

Ref No
4
Part Number
17500-ZA7-000MA
Description
TANK, FUEL
Serial Range
1000001 - 9999999

Ref No
4
Part Number
17500-ZA7-000XC
Description
TANK, FUEL
Serial Range
1000001 - 9999999

Ref No
5
Part Number
17505-ZA7-003
Description
METER ASSY., FUEL (NOT AVAILABLE)
Serial Range
1000001 - 9999999

Ref No
6
Part Number
17601-ZA7-000
Description
TUBE, HANDLE BREATHER (NOT AVAILABLE)
Serial Range
1000001 - 9999999

Ref No
7
Part Number
17620-ZA7-003
Description
CAP, FUEL FILLER
Serial Range
1000001 - 9999999

Ref No
8
Part Number
17631-096-701
Description
GASKET, FUEL FILLER CAP
Serial Range
1000001 - 9999999

Ref No
9
Part Number
17672-883-300
Description
FILTER, FUEL (NOT AVAILABLE)
Serial Range
1000001 - 9999999

Ref No
10
Part Number
17673-883-300
Description
HOLDER, FUEL FILTER
Serial Range
1000001 - 9999999
Qty
Price
$10.38

Ref No
11
Part Number
68110-ZA7-000
Description
HANDLE, CARRY
Serial Range
1000001 - 9999999

Ref No
12
Part Number
68121-ZA7-000
Description
COVER, HANDLE (NOT AVAILABLE)
Serial Range
1000001 - 9999999

Ref No
13
Part Number
68125-892-000
Description
HOOK, HANDLE COVER (NOT AVAILABLE)
Serial Range
1000001 - 9999999

Ref No
14
Part Number
87565-ZA7-000
Description
MARK, FUEL METER
Serial Range
1000001 - 9999999
Qty
Price
$6.16

Ref No
15
Part Number
90445-700-000
Description
GASKET, FIBER (6MM)
Serial Range
1000001 - 9999999

Ref No
16
Part Number
93600-05010-0A
Description
SCREW, FLAT (5X10)
Serial Range
1000001 - 9999999
Qty
Price
$1.06

Ref No
17
Part Number
95700-06010-08
Description
BOLT, FLANGE (6X10)
Serial Range
1000001 - 9999999
Qty
Price
$2.16

Ref No
17
Part Number
95701-06010-08
Description
BOLT, FLANGE (6X10)
Serial Range
1000001 - 9999999
Qty
Price
$2.16

Ref No
18
Part Number
96001-06020-00
Description
BOLT, FLANGE (6X20)
Serial Range
1000001 - 9999999
Qty
Price
$1.67